谭瀚禹王成徐东亮胡强朱炯滔
武汉理工大学机电工程学院武汉430070
摘要:根据当前缠绕成型生产线自动化程度不高等情况,研发和设计了一套自动存取设备,以提高芯模的存取效率,从而大大提高芯模的生产效率。文中对玻璃钢管道缠绕芯模自动存取机结构进行设计,采取垂直旋转式立体仓库作为芯模存储形式、多支撑点稳定支撑、垂直循环传动、单链轮导轨式传动结构、直角坐标式搬运机械手装卸芯模方案、液压升降同步控制回路等技术措施,既提高了在纤维管道制作过程中芯模的自动存取效率,又降低了芯模在运输过程中的危险性。利用SolidWorks完成三维建模,阐述各部件功能实现原理,完成了搬运机械手的结构和芯模自动存取搬运系统的设计。根据搬运方案对搬运机械手X、Y、Z轴分别进行结构设计和建模,对Z轴液压同步控制回路进行设计。运用AnsysWorkbench对搬运机械手的X轴支撑架进行了力学特性分析,并采用基于响应面的多目标遗传算法对X轴支撑架进行优化分析,提高了结构的可靠性和稳定性。
关键词:玻璃钢管;缠绕芯模;自动存取;搬运机械手
中图分类号:TH132文献标识码:A文章编号:1001-0785(2020)08-0031-07
0引言
玻璃钢管(FRPpipe)是一种质量轻、强度高,并且具有良好的电绝缘性的非金属管[1]。目前纤维缠绕技术仍是生产玻璃纤维制品的主要技术手段[2-4],国内外均集中精力改进玻璃纤维管道的生产效率[5]。探索和研制一套全自动高压绝缘玻璃钢管生产线一直是玻璃钢管发展道路上的一项艰巨而急迫的任务[6],其中芯模的存储和搬运作业是一个重要环节,实现芯模存取自动化对降低企业成本、提高生产效率和产品质量具有重要意义[7]。
本文以芯模缠绕机在生产过程中芯模的自动存取为具体研究对象,设计出一套自动存取芯模机构,不仅减轻了工人的劳动强度,也提高了生产自动化水平和生产效率,同时提高了芯模运输的安全性。
1缠绕芯模自动存取机工作原理
本文设计的玻璃钢管道缠绕芯模自动存取机采用垂直旋转式布局[8]。其结构简单,传动稳定,控制方便,占地面积小,空间利用率高,可以通过正反转快速获取所需芯模。
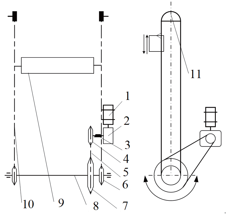
如图1所示,芯模自动存取机主要由主体框架、芯模托架、托架导轨、搬运装置、循环传动装置、缠绕芯模、链条导轨组成。
在整个机器运转前期,根据生产需求在芯模制作区制作不同种类的芯模,为每个芯模贴上条形码并将条码信息录入系统,随后通过搬运装置将其运送到芯模存储库进行存储,通过升降执行机构完成上下芯模的动作,滑移机构完成各个工序间的转移动作。芯模存储库的芯模经过纤缠绕、固化、脱模后通过读取条码获得存储位置再通过搬运装置将其放回库中。

1.框架2.芯模托架3.托架导轨4.搬运装置5.循环传动装置6.缠绕芯模7.链条导轨
图1总体装配结构图
2芯模自动存取机各部件结构设计
所设计的玻璃钢管道缠绕芯模自动存取机主要由垂直循环式芯模存储库和自动搬运装置两部分组成,其中垂直循环芯模存储库主要由主体框架结构、循环传动装置和辅助功能部件构成,实现12个芯模动态存储;自动搬运装置由滑移传送装置和升降托举装置构成,实现芯模入库、出库和输送多项功能,两大模块在结构和功能上相互独立,模块之间又相互配合联系,完成缠绕芯模自动化存取的整个过程。
2.1垂直循环式芯模存储库结构设计
2.1.1芯模托架结构设计
芯模托架是垂直循环系统的重要组成部分,是芯模的直接载体[9]。为方便芯模出入托架,设计为开放型芯模托架,如图2所示,其主要由底架、支撑座、拉杆、防倾导轮、悬架、横轴组成。

1.底架2.支撑座3.拉杆4.防倾导轮5.悬架6.横轴
图2芯模托架总体结构
托架完成对芯模的支撑托放[10],本文采用多支撑点稳定支撑,使用与芯模匹配的弧形支撑座均匀分布进行支撑,简洁、稳定,既满足功能需求,又能保证芯模直线度。托架和链条链板连接并与链条同步运转,与搬运装置配合完成芯模的自动存取。
2.1.2垂直循环传动系统设计及选型
所设计的传动系统主要由循环链系统和动力系统组成。其中循环链系统由循环链条、循环链轮、半圆支撑导轨组成。采用单链轮导轨布置,自重轻、结构简单、易于安装维护[11]。动力系统由电动机、减速器、制动器、一级减速链组成。如图3所示,传动系统主要由电动机、减速器、制动器、小链轮、减速链条、循环链轮、大链轮、传动轴、芯模托架、循环链条、半圆支撑导轨组成。系统运行时,给动力系统通电,电动机输出动力,经过减速器减速,然后连接减速链轮链条进行二次减速,从而驱动大链轮慢速转动,传动轴跟随一起同步转动,传动轴两端安装有两个尺寸较小的循环链轮,最终实现循环链条做垂直循环转动,链条上悬挂的芯模托架跟随链条一起运动[12]。

1.电动机2.减速器3.制动器4.小链轮5.减速链条6.循环链轮7.大链轮8.传动轴9.芯模托架10.循环链条11.半圆支撑导轨
图3循环传动系统工作原理图
2.2芯模自动搬运装置设计
2.2.1搬运机械手结构设计
选用抬举式机械手完成芯模的搬运动作,机械手通过X、Y、Z轴的直线运动实现一定范围内的运动[13],其中X轴可以通过运动实现适应不同长度的芯模,Y轴运动实现不同工序间的移动,Z轴运动实现托举装置的上下运动。
如图4所示,机械手主体结构主要由X轴驱动电机、X轴支撑梁、滚动支撑小车、Y轴滑动轨道、XY连接台、Y轴驱动电机、XZ连接台、升降抬举装置组成。总体结构底座由两条Y轴滑动导轨组成,XY连接台由X轴支撑梁连接,由于X支撑梁跨度较大易发生变形,中部采用滚动小车加强支撑,升降抬举装置通过YZ连接台对称分布在支撑梁上。
1)X轴和Y轴结构设计
X、Y轴是机械手的重要组成部件之一,通过X、Y轴的移动来实现Z轴托举装置在芯模存储库中的正确定位,如图5所示,其主要由Y轴齿轮条、XY连接台、Y轴导轨、Y轴伺服电机、X轴齿轮齿条、Y轴伺服电机组成。

1.X轴驱动电机2.X轴支撑梁3.滚动支撑小车4.Y轴滑动轨道5.XY连接台6.Y轴驱动电机7.XZ连接台8.升降抬举装置
图4芯模存取搬运机械手结构图
1.Y轴齿轮条2.XY连接台3.Y轴导轨4.Y轴伺服电机
5.X轴齿轮齿条6.Y轴伺服电机
图5X轴和Y轴三维模型
2)Z轴结构设计
Z轴运动主要用于实现芯模的托举运动,是承力的直接载体,如图6所示,其主要由XZ连接台、液压缸、连接座、导轨、竖直主体、托举臂、限位座组成。
1.XZ连接台2.液压缸3.连接座4.导轨5.竖直主体6.托举臂7.限位座
图6Z轴三维模型
2.2.2驱动设计
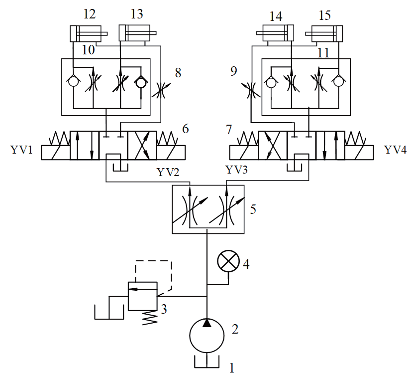
采用4个液压缸实现同步运动,从而实现芯模两边支撑的升降,如图7所示,液压回路主要由油箱、液压泵、溢流阀、压力表、分流阀、三位四通电磁换向阀、节流阀、单向节流阀、液压缸组成。

1.油箱2.液压泵3.溢流阀4.压力表5.分流阀6、7.三位四通电磁换向阀8、9.节流阀
10、11.单向节流阀12、13、14、15.液压缸
图7液压升降同步控制回路
液压泵开始工作,溢流阀调节所需压力,并恒定将油箱中的油通过分流阀等量分流到2个三位四通电磁换向阀。需要控制上升时,电磁铁YV1、YV4得电,换向阀6左位接通,换向阀7右位接通,液压油经节流阀流入液压缸,推动4个液压缸活塞杆同步上升,当活塞杆上升至触碰行程开关,电磁铁失电,2个三位四通电磁换向阀回中位,此时系统保持一定压力。控制下降时,电磁铁YV2、YV3得电,换向阀6右位接通,换向阀7左位接通,液压油推动4个活塞杆同步下降。整个过程通过调节节流阀控制升降速度,压力表实时监测油路压力值。
3关键部件仿真分析与优化设计
3.1X轴支撑架结构静特性分析
搬运机械手主体采用直角坐标式形式,由Y轴滑移轨道、X轴支撑梁、Z轴升降托举装置等部件组成,其中X轴支撑梁作为主要的承力部件,除承受升降托举装置负载外,还包括芯模负载和Z轴升降产生的惯性力,所以对其进行仿真分析十分必要。表1为X轴负载机构质量表。
Z轴升降惯性力由升降加速度求得。设计要求中Z轴运动速度为0.1m/s,加速时间0.1s,可得运动时的加速度a=1m/s2,因此Z轴最大惯性力利用AnsysWorkbench进行有限元分析前,为保证较高的分析效率,首先需对该结构几何形状进行简化,如去除凸台、倒圆角、螺钉孔以及筋板等特征[14-15]。利用Ansys的数据接口技术使SolidWorks建模软件和Workbench软件连接,建立X轴支撑架简化模型后直接导入有限元软件中。材料属性值如表2所示。
然后进行网格划分,添加载荷和约束等后得到X轴支撑架应力以及变形云图,如图8所示。
图8X轴支撑架应力和变形云图
从图8a中可看出应力值分布均匀,没有明显的应力集中现象,最大应力位于矩形钢材与支撑板接触的边缘处,应力值为141.93MPa,接近于Q235的许用应力[σ]=160MPa,基本满足强度要求。
从8b可以看出X轴支撑架的最大变形量为4.5883mm,位于两支撑板之间矩形钢材的中间位置,而一般情况下许用挠度[γ]=0.0006l,l为梁的跨距,由此得到X轴支撑梁许用挠度为2.25mm,这说明X轴这支撑架结构尺寸设计不合理,导致刚度不够,会影响运动平稳性,所以需要对其结构进行优化设计。
3.2X轴支撑架结构优化设计
3.2.1X轴支撑架优化模型建立
如图9所示,选取支撑梁横截面的高度DS_A、宽度DS_B和厚度DS_H以及支撑板的宽度DS_C作为设计参数,其优化范围如表3所示。
图9X轴支撑架变量参数示意图

依据实际装配尺寸允许变动范围决定以上4个参数取值。优化过程中,X轴支撑架的优化目标为minD(X),其中D表示支撑架的最大变形量,X=[DS_A,DS_B,DS_H,DS_C]。
3.2.2优化结果分析
在DesignExploration模块中对横梁进行优化。
1)响应曲面分析
根据设计参数范围生成多组设计数据,再对数据求解,描绘出设计参数和目标参数之间的变化曲线和曲面,分析得到各参数的变化对目标参数的影响趋势。设计参数有7个:P1-DS_C、P2-DS_A、P3-DS_B、P4-DS_H、P5-M、P6-D、P7-F,D为支撑架最大变形量,F为支撑架所受最大应力值,其中P1、P2、P3、P4为4个输入,分别为支撑板宽度、支撑梁横截面的高度、支撑梁横截面的宽度、支撑梁横截面的厚度,P5、P6、P7为3个输出,分别为支撑架总质量、最大变形量、最大应力值,其中P5、P7作为约束条件,P6为优化目标,如图10所示。

图10横梁优化响应曲面
可以看出,随着连接板的宽度P1的增大,其支撑架总质量增加,变形量减小,最大应力值基本没影响,随着支撑梁横截面高度P2、宽度P3增大,其支撑架总质量增加,变形量减小,最大应力值也减小,支撑梁横截面厚度P4增大时,对支撑架总质量、变形量影响较小,最大应力值逐渐增大,所以,在先保证变形较小并保证质量和最大应力不能太大的前提下,需要P1、P2、P3适当增大,P4尽量小。
2)最优解的确定
定义各目标参数的操作函数、约束条件以及函数和约束条件的优先级别,设置求解最大变形量P6最小值,应变范围设定≤2mm,其他为默认值,定初始样本数为1000,最多迭代次数为20次,最大遗传代数为40,系统自动筛选出三组较好的备选结果见表4。

对3组数据进行对比分析,发现第3组的最大变形量最小,最大应力值也最小,总质量比前两组稍大,但在允许范围内,相对而言,第3组方案要优于另外2组方案,所以最终选择第3组方案,对该方案参数取整。优化前后参数对比见表5。

可以看出,X轴支撑架结构尺寸进行优化后总质量虽然有所增大,但是最大变形量由4.5883mm减少到1.8953mm,满足目标优化优化结果,并且最大应力值也有所降低。综上所述,优化后的X轴支撑架具有更高的可靠性和安全性。
4结论
针对目前生产线芯模存取的不足,对玻璃钢管道缠绕芯模自动存取机结构进行设计,采取垂直旋转式立体仓库的芯模存储形式、多支撑点稳定支撑、垂直循环传动、单链轮导轨式传动结构、直角坐标式搬运机械手装卸芯模方案、液压升降同步控制回路等技术措施,既提高了在纤维管道制作过程中芯模的自动存取效率,又降低了芯模在运输过程中的危险性,为解决芯模摆放问题提供了一种行之有效的方法。
参考文献
[1]刘雄亚,谢怀勤.复合材料工艺及设备[M].武汉:武汉工业大学出版社,1994.
[2][J].SAMPEJournal,1997,33(3):25-30.
[3]徐东亮,王成,徐征,等.多工位数控纤维缠绕机的研究与设计[J].玻璃钢/复合材料,2018(06):89-93,38.
[4]刘永纯.新型复合材料成型设备的进展[J].纤维复合材料,2011(1):33,44.
[5]王志辉,祝磊.一种新型大张力纤维缠绕控制系统的研制[J].机床与液压,2017,45(17):132-135.
[6]徐东亮,吴耀楚,刘雪红,等.纤维缠绕张力微机控制系统[J].武汉理工大学学报,2003(10):71-73.
[7]田会方,薛飞.基于PLC的纤维挂纱机构控制系统设计[J].玻璃钢/复合材料,2016(10):60-64.
[8]陈云军,蒋秀明,杨公源.方型构件缠绕机张力控制系统的设计与实现[J].天津工业大学学报,2012,31(5):77-88.
[9]聂俊杰,徐东亮,王龙飞.基于EtherCAT网络的伺服造波控制系统[J].组合机床与自动化加工技术,2016(5).
[10]王吉忠,赵金先.基于托架运动不干涉条件的停车设备链传动系统的设计[J].起重运输械,2005(10):8-10.
[11]张鸿鹄,郭莲,王宇恒.剪叉式液压升降台的设计[J].机械设计与制造工程,2014(12):69-72.
[12]田会方,刘士华.纤维缠绕机生产工艺过程的三维动画设计[J].武汉工业大学学报,1998(4):82-85.





